目錄
*注意:現有客戶預設關閉此功能,請確認您的需求是否適用,再聯繫顧問開放。
情境:實務上仍會有超額加班的情況,希望將超額加班費用轉為津貼項目進行發放,遇勞檢時可提供相對合規的出勤報表
說明:
- 啟用超額加班設定以後,需先進行相關參數設定,包含:
- 差勤結算參數設定-加班倍率:調整既有加班倍率,增加「超額加班」為"是"的倍率資料
- 薪資項目設定:新增超額加班轉津貼需發放的薪資項目
- 計薪規則設定:新增「超額加班費」的計薪規則,每個加班倍率都要設定
- 此設定啟用後,不影響每月計薪作業的操作流程
- 出勤津貼作業:於刷卡資料檢核後,可整批下載範本,預設帶出建議時間,確認需調整的出勤資料後再上傳
- 調整刷卡起迄時間後,員工及主管查詢僅能檢視"調整後"的出勤,範圍包含:
- 每日出勤明細
- 個人桌面的今日出勤狀況、出缺勤資訊、排班表、異常刷卡統計
- 薪資單不會顯示超額加班時數
- 新增【出勤明細】功能,僅供 HR 於後台可查詢未調整的原始出勤記錄
【差勤結算參數設定 > 加班倍率】
【薪資項目設定】新增超額加班費用轉津貼的項目
【計薪規則設定】
【薪資獎金計算 > 差勤資料】結算出「應稅超額加班時數」
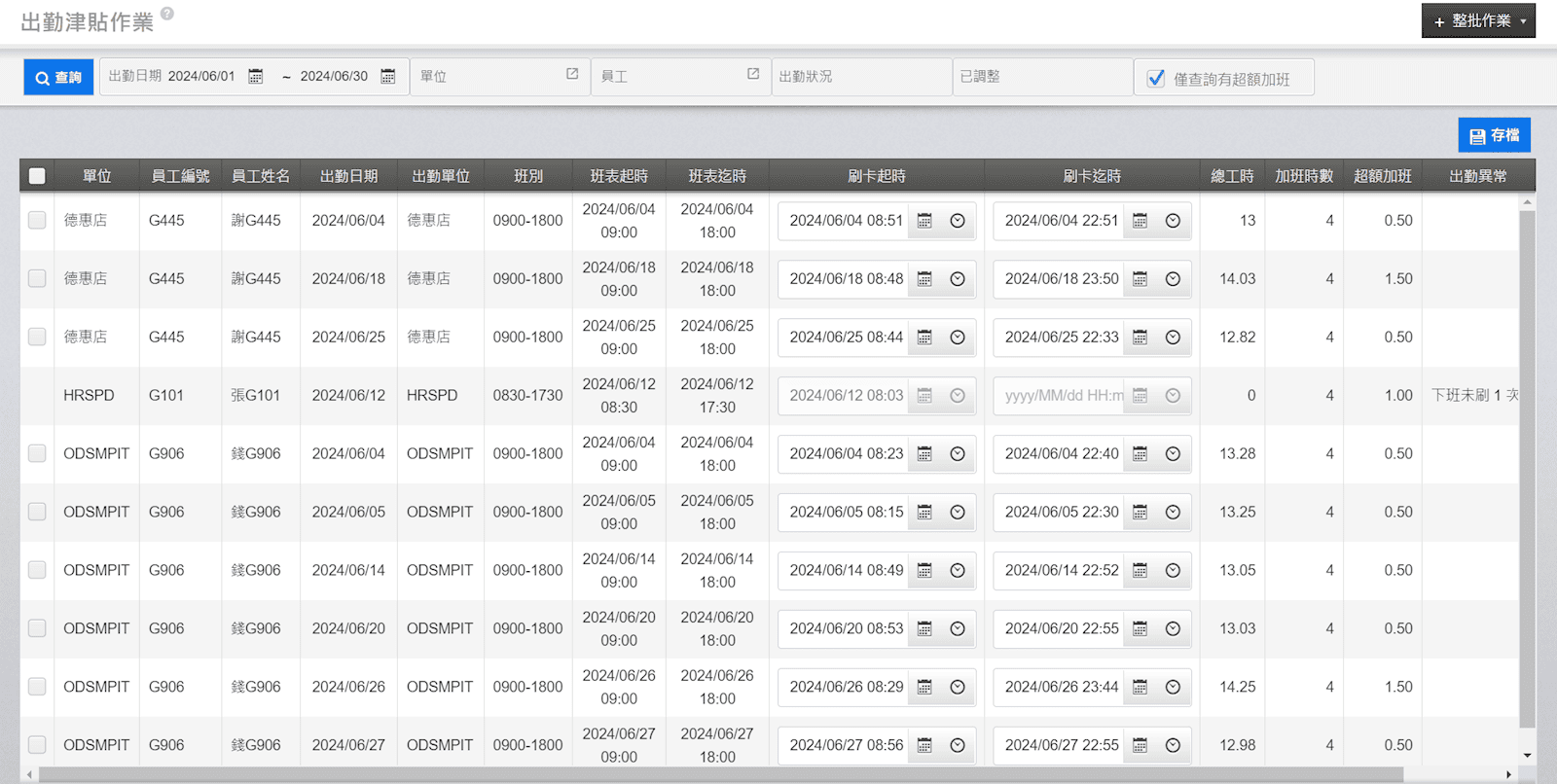
【出勤津貼作業】整批作業,下載範本,僅能調整刷卡起迄時間,再上傳
下載範本時,若有填寫「超額加班刷卡容許分鐘數」,範本下載提供建議時間
調整後的出勤明細,僅匯入調整後的刷卡起迄欄位
原始的【每日出勤明細】,會看到發生超額加班的時數 4.5 小時以及刷卡
出勤資料調整後,【每日出勤明細】僅能檢視合規範圍內的加班時數及刷卡
出勤資料調整後,僅供 HR 於後台【出勤明細】查詢未調整的原始出勤記錄

來源連結:
https://support.vitalyun.com/tw/?catid=28&id=1982&view=article
更多內容
尚無更多內容