目錄
請點選「排放源盤點表」章節旁的紅色
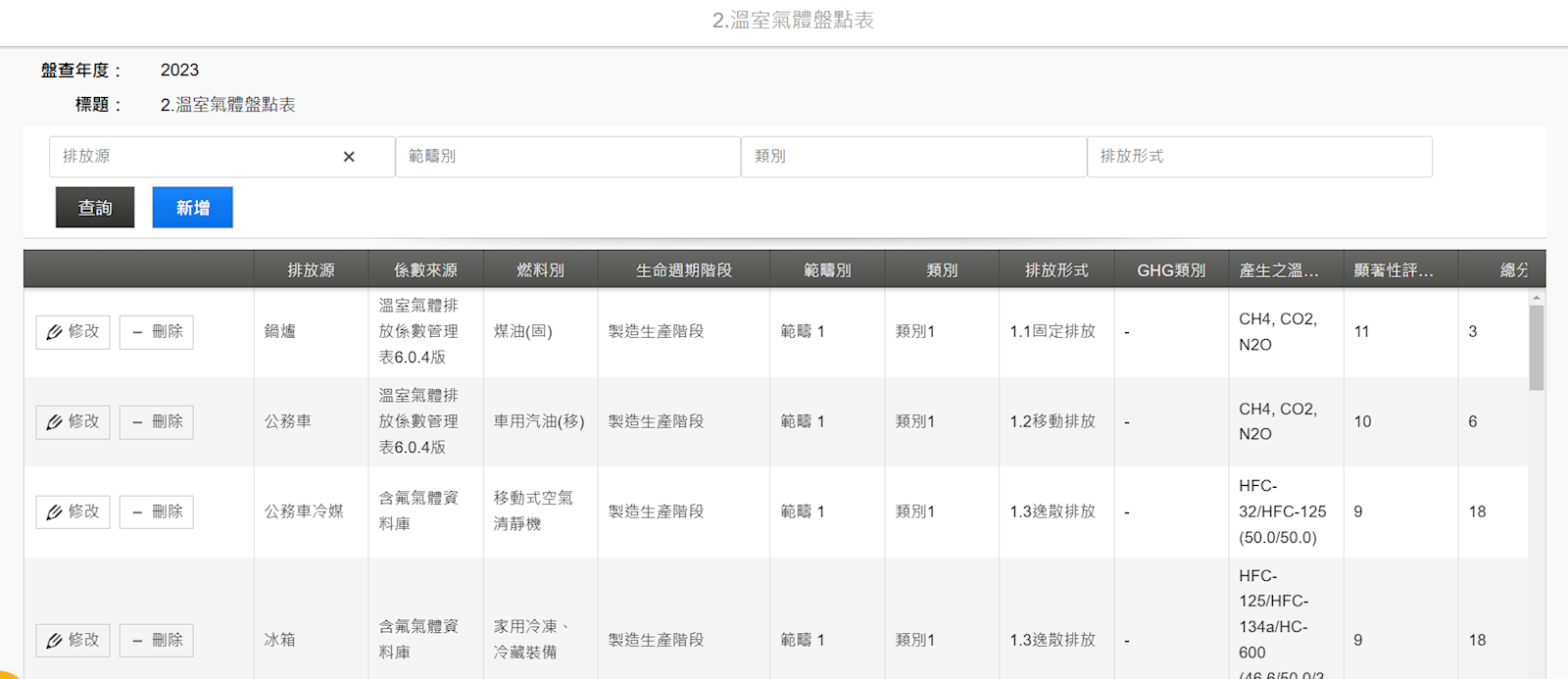
,系統會出現排放源盤點表及顯著性評估表的編輯作業畫面,如下圖所示,點擊左上角「新增」即可建立各範疇、類別的排放源項目,與進行顯著性評估 (範疇一的排放項目不需要進行顯著性評估)。
點擊新增後,請依序填入以下項目:
- 「排放源」欄位:填入排放源項目名稱,例如:公務車(汽油)。
- 「係數來源」欄位:請選擇該排放源項目對應之資料庫係數來源,
例如:環保署IPCC碳排資料庫。
- 「燃料別」欄位:依照上述選擇的資料庫選擇相應的排放源燃料別,
例如:車用汽油(移)。
- 「量化與否」勾選:決定此排放源是否納入本次溫室氣體盤查揭露的項目。
- 選擇對應的「生命週期階段」、「範疇別」、「類別」、「排放形式」、「GHG類別」:系統會自動辨別可能排放之溫室氣體,如下圖所示。
.png)
勾選該項目的「顯著性評估準則原則」,計算方式可自訂為「加法」或「乘法」,勾選完成後將自動計算總分(須先於系統建立評估項目與對應分數)
勾選「排放源誤差等級數據評分」:評分越低代表誤差越小,表示活動數據的品質越優良
「備註」欄位:可填寫該項目的詳細說明
填寫完上述盤點表資料後,若該項目有勾選「量化」,則排放源盤點表項目將自動帶入「排放清冊」表內,即可進行後續排放源的活動數據上傳作業。

來源連結:
https://support.vitalyun.com/tw/?catid=28&id=2430&view=article
更多內容
尚無更多內容