目錄
- 注意:現有客戶預設關閉此功能,只針對少數有需要的客戶開放
- 說明:
- 【外出申請】新增表單申請功能
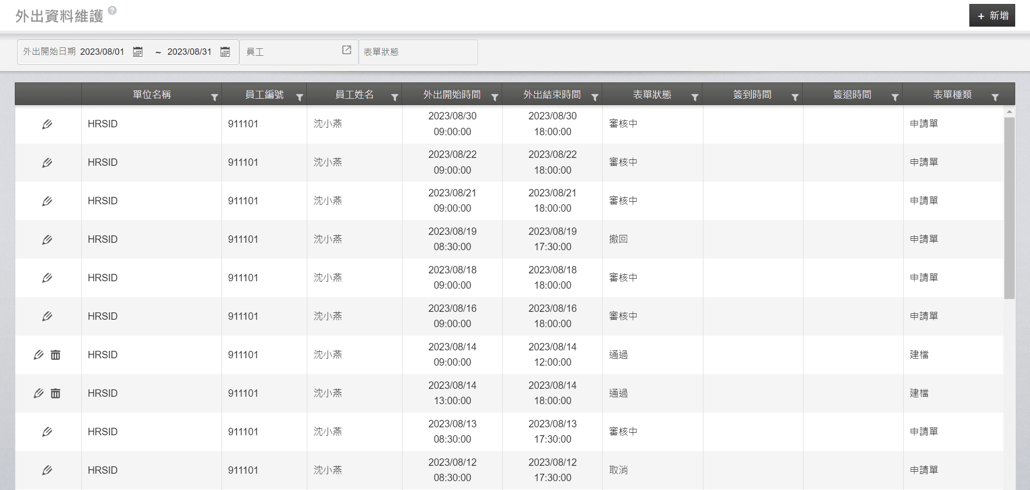
- 【外出資料維護】供承辦管理外出資料,亦可調整簽到退記錄
- 【表單流程設定】若設定不需簽核則送出後直接通過,並發mail通知直接主管
- 【外出單簽到、簽退】當日有外出單時,LINE上可呈現多筆外出單及簽到、簽退按鈕
- 單區間內會有提示訊息,如外出需簽到退請至手機打卡
- 單區間內會有提示訊息,如外出需簽到退請至手機打卡
- 【首頁-今日外出名單】顯示當日已批核通過的外出名單
- 【首頁-員工排班表】有外出單則顯示「外出」
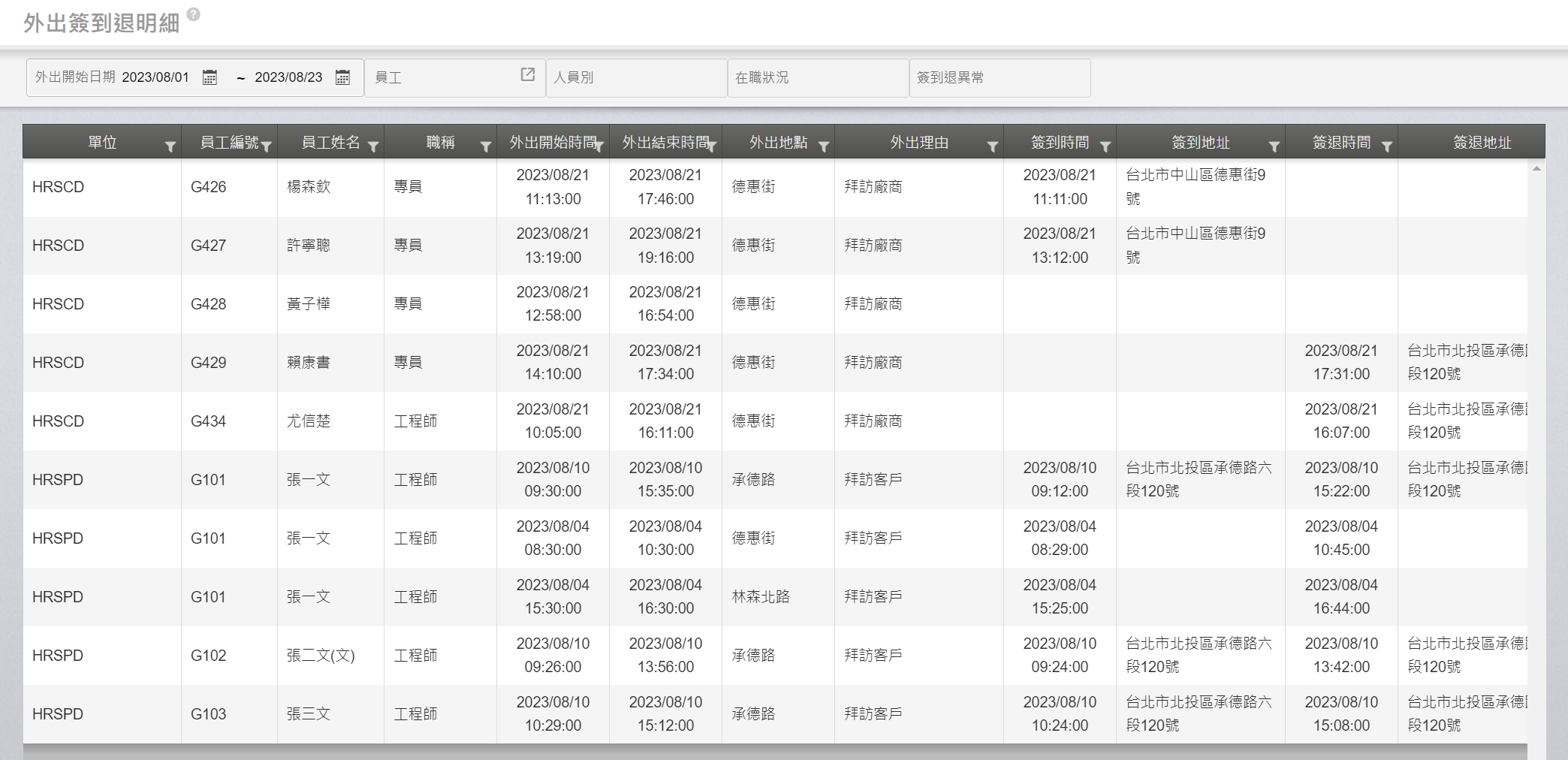
- 【外出簽到退明細】員工/主管/HR可由此功能查詢外出簽到退狀況
- 【每日刷卡記錄查詢】新增外出單簽到退記錄
- 【每日出勤明細】刷卡起迄新增外出單簽到退記錄
注意:現有客戶預設關閉此功能,只針對少數有需要的客戶開放
說明:
- 情境
主管需管理員工因公外出是否確實執行,例:拜訪客戶、工地巡視…等需要因公外出的狀況;員工申請外出單後,需至系統內登記實際簽到退時間 - 影響範圍
- 外出申請的先決條件
- 有排班,且於班表時間內才能申請外出
- 不可跨班表
- 加班時段不可申請
- 外出資料維護:HR管理外出單使用,並可調整外出單簽到退資料
- 表單流程設定:外出單可設定是否須簽核,若不需簽核送出後直接通過並發mail通知直接主管
- 外出單簽到退
- 當日有外出單時,LINE上可呈現多筆外出單,及簽到、簽退按鈕
- 選擇外出單簽到退的打卡將不受檢核地點及IP的限制
- 於LINE上簽到、簽退方能顯示外出打卡地點;網頁打卡不支援外出單簽到、簽退
- 排班表(員工權限)、今日外出名單(主管權限)、員工排班表(主管權限):首頁相關功能顯示外出資訊,供員工/主管可快速查閱
- 外出簽到退明細:員工/主管/HR可查詢已通過外出單的簽到退狀況
- 每日出勤明細、每日刷卡記錄查詢:新增顯示外出簽到退刷卡記錄
- 外出申請的先決條件
【外出申請】新增表單申請功能
【外出資料維護】供承辦管理外出資料,亦可調整簽到退記錄

【表單流程設定】若設定不需簽核則送出後直接通過,並發mail通知直接主管
【外出單簽到、簽退】當日有外出單時,LINE上可呈現多筆外出單及簽到、簽退按鈕
![]() | ![]() |
單區間內會有提示訊息,如外出需簽到退請至手機打卡
單區間內會有提示訊息,如外出需簽到退請至手機打卡
【首頁-今日外出名單】顯示當日已批核通過的外出名單
【首頁-員工排班表】有外出單則顯示「外出」
【外出簽到退明細】員工/主管/HR可由此功能查詢外出簽到退狀況
【每日刷卡記錄查詢】新增外出單簽到退記錄
【每日出勤明細】刷卡起迄新增外出單簽到退記錄
來源連結:
https://support.vitalyun.com/tw/vital-hcm?catid=28&id=2023%3A%E5%A4%96%E5%87%BA%E7%94%B3%E8%AB%8B%E5%96%AE%E5%8A%9F%E8%83%BD-%E8%AA%AA%E6%98%8E&view=article
更多內容
2025 2月
113 年電子申報作業要點內容調整
2024 8月

