目錄
於事件/活動詳細資料畫面的「參加人員」頁籤中,可以勾選欲「對表格參加人員」發送行銷簡訊、郵件或匯出的對象;若沒有勾選任何人員,則會套用此事件的全部參加人員。
對事件/活動參加人員發送行銷簡訊、郵件的功能已整合至「參加人員」頁籤中的「對表格參加人員」功能選單內。
點選發送行銷郵件,點擊後會於「發送對象」顯示目前勾選的參加人員

點擊「顯示無法發送的對象」,可以看到無法發送的目標,請注意目前無法對公司發送。
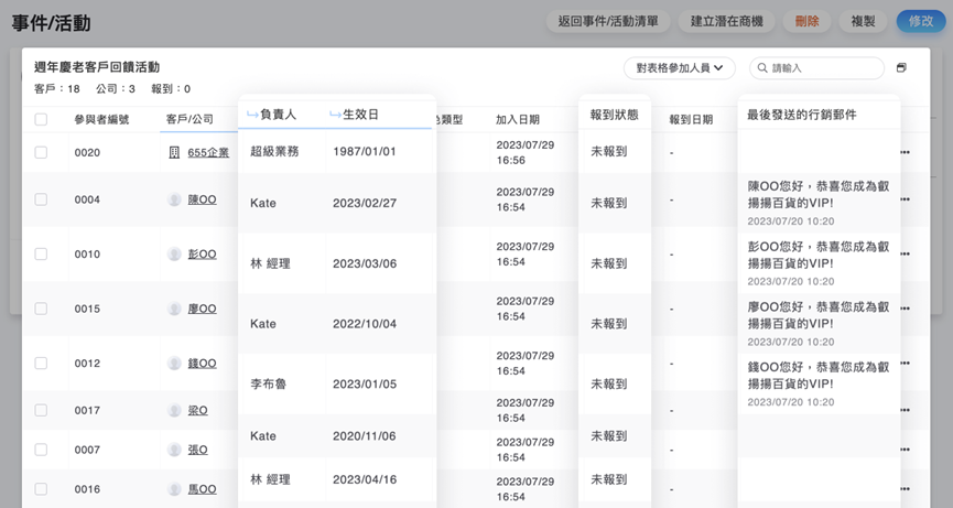
點擊參與人員表格右上的視窗放大按鈕,可以將表格放大顯示,看到更詳細的內容與額外資訊:客戶/公司的負責人與生效日、報到狀態、最後發送的行銷郵件等等。於放大狀態也可以使用「對表格參加人員」功能。
參加人員尚未載入全部頁數時,若點擊全選的方框,則會另外出現「選取全部XX筆」的按鈕,點擊後會連同尚未載入於畫面上的筆數也一併選取。
來源連結:
https://support.vitalyun.com/tw/?catid=28&id=3328&view=article
更多內容
尚無更多內容